Việc làm sạch và vệ sinh máy sấy quần áo Samsung sau khi sử dụng đã trở thành nỗi lo, khiến các bà mẹ phải đau đầu. Sau đây, chúng tôi sẽ hướng dẫn cách tự vệ sinh máy sấy Samsung tại nhà cực kì đơn giản.
1. Cách vệ sinh máy sấy quần áo Samsung
1.1. Vệ sinh bộ trao đổi nhiệt
Bước 1: Nhấn nhẹ phần mặt trên của nắp ngoài để mở ra

Bước 2: Mở khóa các chốt cố định
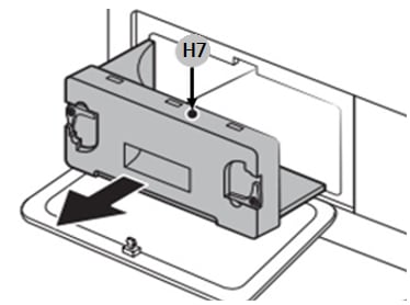
Bước 3: Tháo nắp bên trong ra (H7). Vệ sinh nắp đậy bên trong bằng một miếng vải mịn và ẩm

Bước 4: Vệ sinh bộ trao đổi nhiệt bằng bàn chải vệ sinh được cung cấp hoặc máy hút bụi có phụ kiện bàn chải. Cẩn thận không làm cong hoặc làm hỏng lá tản nhiệt của bộ trao đổi nhiệt khi vệ sinh
Bước 5: Lắp lại nắp đậy bên trong về vị trí ban đầu, sau đó khóa các chốt cố định, lắp đúng các khớp với nhau. Đóng nắp đậy bên ngoài.
1.2. Vệ sinh hộp chứa nước
Để tránh rò rỉ, hãy làm rỗng hộp chứa nước sau mỗi lần sấy hoặc khi thấy vạch báo của hộp chứa nước ở mức cao.
Bước 1: Sử dụng cả hai tay, kéo hộp chứa nước về phía trước để tháo

Bước 2: Rút nước thông qua lỗ thoát nước (H5)

Bước 3: Sau đó, lau sạch và làm khô trước khi đặt hộp chứa nước trở lại đúng vị trí ban đầu
1.3. Vệ sinh bộ lọc cặn
Bước 1: Mở cửa và nhấc bộ lọc cặn ra bên ngoài

Bước 2: Mở bộ lọc bên ngoài và tháo bộ lọc bên trong ra; Vệ sinh sạch các cặn bụi ở cả hai bộ lọc, sau đó vệ sinh bộ lọc bằng bàn chải vệ sinh, rồi lau khô hoàn toàn.
Bước 3: Đặt bộ lọc bên trong vào bộ lọc bên ngoài, sau đó lắp lại bộ lọc cặn vào vị trí ban đầu
1.4. Vệ sinh ống thoát nước
Cần kiểm tra và vệ sinh đường ống thoát nước thường xuyên để tránh trường hợp tắc nghẽn, gấp khúc ảnh hưởng đến quá trình vận hành của máy. Nếu ống bị tắc bạn có thực hiện theo cách sử dụng baking soda, giấm và muối ăn theo các bước sau:
Bước 1: Đổ 1 cốc baking soda xuống trực tiếp cống cần làm sạch, sau đó đổ tiếp theo 1 chén giấm vào và cuối cùng là bát muối ăn. Soda có tính kiềm yếu và giấm có tính acid axetic yếu và muối ăn nên khi cả 3 được trộn lẫn với nhau sẽ tạo ra phản ứng sủi bọt khí thành quả là dung dịch có tính ăn mòn các chất hữu cơ cao.
Bước 2: Sau khi bọt khí xuất hiện, bạn hãy đợi chờ thêm 5 phút trước khi bạn xả cống với 2 ca lớn nước nóng nhé.
Bước 3: Hãy lập lại quá trình này vài lần nếu cống nhà bạn vẫn thật sự chưa hết tắc nghẽn và không sạch hết các cặn bẩn nhé.

2. Lưu ý khi vệ sinh
- Hãy luôn kiểm tra hướng dẫn sử dụng của nhà sản xuất và ngắt nguồn điện của thiết bị để ngăn ngừa nguy cơ điện giật trong quá trình vệ sinh, bảo dưỡng máy sấy quần áo.
- Để tránh thương tích và bỏng, không chạm hoặc vệ sinh bô trao đổi nhiệt bằng tay trần.
- Không sử dụng nước để vệ sinh bộ trao đổi nhiệt.
- Nếu trước đó bạn có sử dụng máy sấy quần áo thì cần mở cửa rồi để máy nguội hoàn toàn rồi mới tiến hành vệ sinh.
- Trong quá trình vệ sinh nếu như bạn sử dụng hoá chất, hoặc dung dịch để lau, chùi sẽ dẽ gây nên các hiện tượng cháy, nổ gây nguy hiểm.













Tủ đông
Tủ mát